Безопасные артроскопические доступы к локтевому суставу при эпикондилитах: топографо-анатомическое обоснование
- Авторы: Салихов М.Р.1, Мидаев А.И.1, Фомин Н.Ф.1,2
-
Учреждения:
- ФГБУ «Национальный медицинский исследовательский центр травматологии и ортопедии им. Р.Р. Вредена» Минздрава России
- ФГБВОУ ВО «Военно-медицинская академия им. С.М. Кирова» Минобороны России
- Выпуск: Том 28, № 4 (2022)
- Страницы: 148-158
- Раздел: Теоретические и экспериментальные исследования
- Дата подачи: 27.07.2022
- Дата принятия к публикации: 27.10.2022
- Дата публикации: 26.12.2022
- URL: https://journal.rniito.org/jour/article/view/1977
- DOI: https://doi.org/10.17816/2311-2905-1977
- ID: 1977
Цитировать
Аннотация
Актуальность. Артроскопические методики диагностики и лечения заболеваний локтевого сустава пока не приобрели широкого распространения в связи с малым объемом сустава, близким расположением сосудисто-нервных структур и сложностью манипулирования.
Цель исследования — определение безопасных зон для формирования малоинвазивных доступов к локтевому суставу при лечении пациентов с латеральным и медиальным эпикондилитами.
Материал и методы. Выполнено комплексное топографо-анатомическое и клиническое исследование. Топографо-анатомическая часть проведена на 30 нефиксированных анатомических препаратах верхней конечности. Изучались особенности сухожильно-мышечных и сосудисто-нервных структур, окружающих локтевой сустав, в зависимости от угла сгибания в локтевом суставе на трех различных уровнях: I уровень — 5 см выше суставной щели, II уровень — суставная щель, III уровень — шейка лучевой кости. В клинической части исследования вышеописанные структуры изучались с помощью МРТ у 30 пациентов.
Результаты. Плечевая артерия на I уровне находится на расстоянии 28,6 (28,4–28,7) мм от кости при сгибании конечности в локтевом суставе до 90º. Лучевой нерв на II уровне находится на расстоянии 15,8 (15,6–16,0) мм от условной медиальной эпикондилярной линии (УМЭЛ). Срединный нерв расположен от УМЭЛ на расстоянии 17,5 (16,6–18,1) мм, а плечевая артерия — на 22,4 (20,5–22,8) мм. Передний пучок медиальной коллатеральной связки (МКС) имеет следующие средние значения ширины: проксимальная часть — 6,2±1,4 мм; средняя часть — 6,5±1,5 мм; дистальная часть — 9,3±1,4 мм. Средняя площадь прикрепления МКС к медиальному надмыщелку плечевой кости составляет 45,5±9,3 мм2 и имеет округлую форму. Средняя длина лучевой коллатеральной связки — 20,5±1,9 мм; ширина — 5,2±0,8 мм, средняя площадь ее прикрепления на плечевой кости — 13,6±1,4 мм2. Средняя площадь короткого лучевого разгибателя запястья на латеральном надмыщелке плечевой кости составляет 53,1±3,7 мм2. Среднее расстояние от входа глубокой ветви лучевого нерва в супинаторный канал до суставной щели — 28 (25,5–29,6) мм.
Заключение. В результате исследования определены наиболее безопасные артроскопические доступы к локтевому суставу с минимальным риском повреждения сосудисто-нервных структур при лечении пациентов с латеральным и медиальным эпикондилитом.
Полный текст
ВВЕДЕНИЕ
Неполная удовлетворенность пациентов с энтезопатиями дистального отдела плечевой кости результатами открытого хирургического лечения привела к разработке малоинвазивных техник [1]. Трудность оперативного лечения этой патологии связана со сложностью анатомического строения и биомеханики локтевого сустава (ЛС), а также с развивающимися в послеоперационном периоде контрактурами и гетеротипическими оссификатами [2].
Артроскопия ЛС позволяет не только проводить диагностику внутрисуставных изменений, но и одновременно выполнять все необходимые лечебные пособия [3]. В то же время артроскопия ЛС является сложной процедурой по сравнению с артроскопией коленного и плечевого суставов, что связано с малым объемом сустава, близким расположением сосудисто-нервных структур и технической сложностью процедуры [4]. Поэтому она не получила широкого распространения. Доля артроскопических вмешательств на ЛС в общей структуре артроскопий составляет 11% [5].
На сегодняшний день существует шесть общепринятых артроскопических доступов к ЛС, имеющих свои преимущества, недостатки и риски ятрогенных осложнений [3]. Риск повреждения сосудисто-нервных образований при артроскопии ЛС составляет до 11,8% [4, 6]. Выполнено множество исследований, посвященных изучению топографо-анатомических особенностей сосудисто-нервных структур в области ЛС, а также риску их повреждения инструментами, введенными в полость сустава через сформированные артроскопические порты [7, 8, 9]. Встречаются единичные исследования, в которых изучается степень смещения сосудисто-нервных структур в зависимости от угла сгибания в локтевом суставе [10, 11]. Наряду с этим практически отсутствуют исследования топографии сосудисто-нервных образований применительно к артроскопическому лечению пациентов с энтезопатиями дистального отдела плечевой кости [12]. Выполнено достаточно много кадаверных исследований, направленных на определение безопасных и эффективных артроскопических доступов к ЛС [5, 10, 11, 13].
Наиболее часто используются следующие артроскопические порты для лечения пациентов с патологией ЛС: проксимальный медиальный, передний латеральный, проксимальный латеральный и передний медиальный, однако практически отсутствуют публикации, посвященные обоснованию безопасности артроскопических доступов к ЛС при энтезопатиях дистального отдела плечевой кости [14, 15, 16].
Цель исследования — определение наиболее безопасных зон для формирования малоинвазивных доступов к локтевому суставу при лечении пациентов с эпикондилитами дистального отдела плечевой кости.
МАТЕРИАЛ И МЕТОДЫ
Выполнено двухцентровое комплексное топографо-анатомическое и клиническое исследование.
Топографо-анатомическое исследование
Топографо-анатомическое исследование проведено на 30 нефиксированных препаратах ЛС людей (16 женщин и 14 мужчин), умерших в возрасте от 22 до 65 лет. В исследование не вошли препараты, подвергшиеся внешнему воздействию (травмы, ожоги), а также препараты людей с заболеваниями, вызывающими деструкцию сустава и суставных поверхностей.
Изучались следующие параметры:
1) топография и расположение магистральных сосудисто-нервных образований по отношению к прилегающим костным структурам, а также изменение этих параметров в зависимости от угла сгибания конечности в ЛС;
2) анатомические особенности и топография лучевой коллатеральной и локтевой коллатеральной связок и их взаимосвязь с сухожилиями короткого лучевого разгибателя запястья (КЛРЗ) и локтевого сгибателя запястья (ЛСЗ);
3) площадь прикрепления сухожилий КЛРЗ и ЛСЗ к дистальному отделу плечевой кости;
4) расположение аркады Фрозе (canalis supinatorius).
Первым этапом определяли кратчайшее расстояние от лучевого нерва до плечевой и лучевой костей и от срединного нерва до плечевой и локтевой костей при разных функциональных положениях верхней конечности в ЛС. Измерения выполнялись на трех уровнях: I уровень — на 5 см выше суставной щели; II уровень — на уровне сустава; III уровень — на уровне шейки лучевой кости (рис. 1).
Рис. 1. Схема анатомических образований на трех уровнях в области локтевого сустава (вид спереди)
После выделения сосудисто-нервного пучка в подмышечной впадине выполнялась установка подключичного одноканального катетера в подмышечную артерию, через который инъецировали масляную взвесь свинцовых белил.
Вдоль лучевого и срединного нервов были протянуты рентгеноконтрастные метки, выполненные из медной проволоки, после чего выполнялась ангиорентгенография области ЛС в прямой и боковой проекциях в трех функциональных положениях: при его сгибании на 90º, 120º и 0º. По полученным снимкам в боковой проекции проводили замеры расстояния от промаркированных структур до передней границы прилегающей кости (рис. 2).
Рис. 2. Ангиорентгенограммы правого локтевого сустава в боковой проекции: а — сгибание на 0º; b — на 90º; стрелками указаны рентгеноконтрастные метки; 1 — срединный нерв; 2 — поверхностная ветвь лучевого нерва; 3 — глубокая ветвь лучевого нерва; H — расстояние от плечевой артерии до передней поверхности плечевой кости
Измерения выполняли на I, II и III уровнях. Затем проводили анализ полученных данных с целью определения положения конечности, при котором изучаемое расстояние было максимальным.
По ангиорентгенограммам в прямой проекции на II уровне в положении полного разгибания изучались расстояния от условной латеральной эпикондилярной линии (УЛЭЛ) до лучевого нерва и от условной медиальной эпикондилярной линии (УМЭЛ) до срединного нерва и плечевой артерии (рис. 3). Данный этап исследования был необходим для определения безопасных зон, в которых повреждение сосудисто-нервных образований сведено к минимуму, так как II уровень является наиболее удобным для расположения артроскопических портов.
Рис. 3. Взаимное расположение сосудисто-нервных структур на II уровне ЛС: а — ангиорентгенограмма; b — схематическое изображение; А1 — расстояние от лучевого нерва до передней поверхности плечевой кости; А2 — от срединного нерва до передней поверхности плечевой кости; B1 — от лучевого нерва до УЛЭЛ; B2 — от срединного нерва до УМЭЛ; 1 — УЛЭЛ; 2 — срединный нерв; 3 — лучевой нерв; 4 — УМЭЛ
Следующим этапом изучали индивидуальные особенности, в частности вариабельность строения, топографии, взаиморасположения сухожильных групп мышц сгибателей и разгибателей предплечья. Особое внимание уделялось сухожилиям, наиболее подверженным дегенеративным изменениям при эпикондилитах дистального отдела предплечья. По данным литературы, наиболее часто поражаются ЛСЗ, плечевая головка круглого пронатора при медиальном эпикондилите и КЛРЗ при латеральном эпикондилите [17, 18] (рис. 4).
Рис. 4. Нефиксированный анатомический препарат правого локтевого сустава, вид с латеральной поверхности предплечья; топография сухожилий разгибателей в области латерального надмыщелка плечевой кости. Линиями обозначены межмышечные границы: 1 — плечелучевая мышца; 2 — длинный лучевой разгибатель запястья; 3 — короткий лучевой разгибатель запястья; 4 — поверхностный разгибатель пальцев; 5 — разгибатель мизинца; 6 — латеральный надмыщелок плечевой кости; 7 — локтевой сгибатель запястья
Для определения объема, необходимого для полноценной резекции дегенеративно измененного сухожилия, определяли площади энтезисов к надмыщелкам плечевой кости. Для выполнения данной задачи проводили бережное препарирование изучаемых сухожилий с последующим их отсечением от плечевой кости, выполняли морфометрические замеры и с помощью подобранных формул вычисляли площадь зоны прикрепления.
Затем изучали расположение канала супинатора — так называемую супинаторную дугу, или аркаду Фрозе. Для этого на 30 макропрепаратах проводилось препарирование топографической области в проекции лучевого нерва, а затем выделение его от уровня суставной щели ЛС до вхождения глубокой ветви лучевого нерва в супинаторный канал с последующей фиксацией этого расстояния на каждом макропрепарате.
Результаты топографо-анатомического исследования заносились в протоколы. Для сохранения фактического материала и возможности дополнительного анализа основные этапы исследования фиксировались при помощи цифровой фотосъемки. Для анализа вариабельности изучаемых расстояний и их статистического анализа результаты протоколов вносились в таблицу Excel.
Клиническое исследование
В клинической части исследования изучали варианты строения сосудисто-нервных (плечевая артерия, локтевой, срединный, лучевой нервы) и сухожильно-мышечных образований путем анализа 30 магнитно-резонансных томограмм ЛС, выполненных на томографе Philips 3,0 Т. МРТ проводили 16 мужчинам и 14 женщинам с начальными стадиями остеоартроза, средний возраст — 44,0±6,3 года (от 21 до 67). Для обработки данных МРТ была использована компьютерная программа Dicom Viewer Radiant (Medixant, Польша).
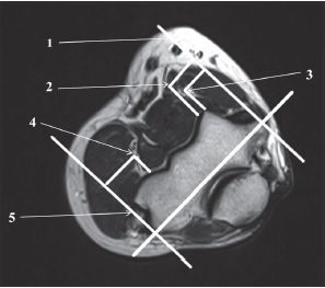
На МРТ ЛС на II уровне в аксиальной проекции измеряли расстояния от лучевого и срединного нервов и плечевой артерии до передней границы тени плечевой кости. Также от вышеупомянутых структур замеряли расстояния до УЛЭЛ и УМЭЛ (рис. 5).
Рис. 5. МРТ локтевого сустава, аксиальная проекция: 1 — условная медиальная эпикондилярная линия; 2 — плечевая артерия; 3 — срединный нерв; 4 — лучевой нерв; 5 — условная латеральная эпикондилярная линия
На томограммах в коронарной проекции изучали особенности топографии и морфометрические характеристики капсульно-связочных структур ЛС, а именно лучевой коллатеральной связки (ЛКС) и переднего пучка медиальной коллатеральной связки (ППМКС) (рис. 6). На томограммах в сагиттальной проекции изучались размеры зон прикрепления сухожилий КЛРЗ и ЛСЗ к латеральному и медиальному надмыщелкам плечевой кости.
Рис. 6. МРТ локтевого сустава, аксиальная проекция. Стрелками обозначены: а — передний пучок локтевой коллатеральной связки; b — лучевая коллатеральная связка
Статистический анализ
Статистическая обработка данных осуществлялась с применением программы Past 306 с последующим построением таблиц. Нормальность распределения данных оценивали с помощью критерия Шапиро – Уилка. Для нормально распределенных показателей представлены средние величины, стандартное отклонение и 95% доверительный интервал. Статистическую значимость различий средних величин в зависимых выборках оценивали с помощью t-критерия Вилкоксона парных сравнений. Критическим считали значение p<0,05. Для показателей, не являющихся нормально распределенными, описательные характеристики представляли медианой и верхним и нижним квартилями (Q1–Q3).
РЕЗУЛЬТАТЫ
Результаты топографо-анатомического исследования
Результаты первого этапа топографо-анатомического исследования показали, что при сгибании верхней конечности в ЛС от 0° до 90° лучевой и срединный нервы находятся на максимальном расстоянии от костных структур, однако сгибание до 120° приводит к уменьшению этого расстояния (табл. 1). Из-за увеличения до максимума расстояния между изучаемыми нервами и костными структурами на уровнях II и III манипуляции в ЛС и доступы на этих уровнях более безопасны, чем на уровне I.
Таблица 1
Расстояние от передней тени костных структур до периферических нервов
Уровень | Нерв | Угол сгибания в ЛС, град. | Ме (Q1–Q3), мм |
I | Лучевой | 0 | 6,4 (6,2–6,6) |
90 | 7,8 (7,4–8,4) | ||
120 | 6,9 (6,7–7,1) | ||
Срединный | 0 | 15,4 (15,2–16,0) | |
90 | 16,2 (15,8–16,5) | ||
120 | 15,5 (15,3–16,2) | ||
II | Лучевой | 0 | 13,4 (13,1–13,7) |
90 | 16,4 (16,0–16,5) | ||
120 | 16,1 (15,7–16,2) | ||
Срединный | 0 | 13 (12,6–13,5) | |
90 | 21,8 (21,6–22,5) | ||
120 | 21,6 (21,4–22, 2) | ||
III | Лучевой | 0 | 9,7 (9,5–9,9) |
90 | 14,7 (14,3–15,2) | ||
120 | 14,6 (14,4–15,0) | ||
Срединный | 0 | 6,4 (5,8–6,8) | |
90 | 15,2 (14,9–15,6) | ||
120 | 14,9 (14,4–15,2) |
Кадаверные рентгено-ангиографические исследования плечевой артерии в области ЛС показали, что при сгибании до 90° плечевая артерия удаляется от кости и находится на максимальном расстоянии на I уровне (табл. 2).
Таблица 2
Расстояние от плечевой артерии до передней тени прилегающей кости на трех уровнях
Уровень | Угол сгибания в ЛС, град. | Ме (Q1–Q3), мм |
I | 0 | 26, 9 (26,6–27,2) |
90 | 28,6 (28,4–28,7) | |
120 | 27,8 (27,7–28,1) | |
II | 0 | 15,3 (15,2–15,4) |
90 | 16,8 (16,5–17,1) | |
120 | 15,8 (15,6–16,0) | |
III | 0 | 19,7 (19,5–19,9) |
90 | 21,4 (21,2–21,7) | |
120 | 20,8 (20,7–21,0) |
Затем определяли безопасные интервалы возможного смещения порта от надмыщелков плечевой кости во фронтальной плоскости на II уровне, так как именно этот уровень наиболее удобен для проведения релиза поврежденных сухожилий. При изучении расстояний от УЛЭЛ до лучевого нерва и от УМЭЛ до срединного нерва и плечевой артерии по ангиорентгенограммам на II уровне определено, что лучевой нерв располагается на расстоянии 15,8 (15,6–16,0) мм, срединный нерв отдален от УМЭЛ на 17,5 (16,6–18,1) мм, а плечевая артерия — на 22,4 (20,5–22,8) мм.
С точки зрения удобства работы с поврежденными сухожилиями разгибательной и сгибательной групп мышц предплечья наиболее подходящим является II уровень. Определены расстояния от надмыщелков до важных сосудисто-нервных образований:
1) для латерального порта зона расположена не более чем на 15 мм от УЛЭЛ, при смещении более 15 мм увеличивается риск травматизации лучевого нерва;
2) для медиального порта зона ограничена 15 мм от УМЭЛ, при увеличении данного расстояния возрастает риск повреждения плечевой артерии и срединного нерва.
В ходе второго этапа выявлено, что средняя проксимальная ширина ППМКС равна 6,2±1,4 (4,2–9,1) мм. Средняя ширина средней части составляет 6,5±1,5 (4,3–9,2) мм, средняя дистальная ширина равна 9,3±1,4 (6,2–13,5) мм. Средняя площадь зоны ее прикрепления к медиальному надмыщелку плечевой кости составляет 45,5±9,3 (25,9–59,4) мм2 и имеет округлую форму. В области локтевой кости (венечного отростка) она имеет продолговатую форму, средняя площадь прикрепления — 65,4 (54,3–78,6) мм2, общая длина ППМКС составляет 21,5 (20,0–23,0) мм.
ЛКС очень тесно прилегает к сухожилию КЛРЗ и находится выше средней плечелучевой линии сустава, при попытке выполнения релиза КЛРЗ ниже этой линии высок риск повреждения ЛКС. Средняя общая длина ЛКС составляет 20,5±1,9 мм, ширина пучка ЛКС — 5,2±0,8 мм, средняя общая длина латеральной локтевой коллатеральной связки — 44,6±1,9 мм. Средняя площадь зоны прикрепления ЛКС на плечевой кости — 13,6±1,4 мм2.
КЛРЗ располагается непосредственно под длинным лучевым разгибателем запястья, и для оценки данной структуры необходимо его рассечь или сместить. Также обнаружено, что КЛРЗ прилегает непосредственно к передней капсуле ЛС. Средняя площадь КЛРЗ представлена в таблице 3. В ходе изучения сухожилия КЛРЗ в области прикрепления к наружному надмыщелку плечевой кости выявлено, что эта область имеет форму ромба (рис. 7).
Таблица 3
Площадь области прикрепления сухожилий к надмыщелкам плечевой кости на II уровне
Структура | М±SD, мм2 |
Короткий лучевой разгибатель запястья | 53,1±3,7 |
Лучевой сгибатель запястья | 58,3±6,3 |
Рис. 7. Нефиксированный анатомический макропрепарат правого локтевого сустава. Область прикрепления КЛРЗ обозначена ромбом, синей стрелкой обозначена ширина (B), красной стрелкой — высота (H)
Сухожильная часть ЛСЗ располагается выше средней плечелоктевой линии, непосредственно прилегает к ППМКС, и при выполнении релиза ЛСЗ ниже средней плечелоктевой линии повышается вероятность повреждения медиальной коллатеральной связки. Средняя площадь ЛСЗ в области прикрепления к медиальному надмыщелку плечевой кости представлена в таблице 3.
При изучении сухожилий сгибательной группы мышц предплечья, а именно области прикрепления сухожилия ЛСЗ к медиальному надмыщелку плечевой кости, выявлено, что она имеет форму круга (рис. 8).
Рис. 8. Нефиксированный макропрепарат левого локтевого сустава. Измерение зоны прикрепления сухожилия лучевого сгибателя запястья: а — область прикрепления лучевого сгибателя запястья обозначена кругом; b — состояние после обнажения области прикрепления сухожилия лучевого сгибателя запястья к медиальному надмыщелку плечевой кости (обозначено желтой меткой)
Медиана расстояния от суставной щели до входа глубокой двигательной ветви лучевого нерва в супинаторный канал составила 28 (25,5–29,6) мм, что обуславливает высокий риск повреждения этой структуры при работе в этих зонах.
Результаты клинического исследования
В ходе МРТ-исследования ЛС в аксиальных проекциях на II уровне измеряли расстояния от сосудисто-нервных структур (лучевой и срединный нервы, плечевая артерия) до передней границы тени плечевой кости, а также от лучевого нерва до УЛЭЛ и от срединного нерва и плечевой артерии до УМЭЛ (табл. 4).
Таблица 4
Расстояние от сосудисто-нервных структур до УЛЭЛ и УМЭЛ на II уровне при полном разгибании верхней конечности
Структура | Линия | Ме (Q1–Q3), мм |
Лучевой нерв | УЛЭЛ | 17,6 (17,4–17,9) |
Плечевая артерия | УМЭЛ | 22,8 (22,7–23,2) |
Срединный нерв | 18,8 (18,7–19,2) |
Полученные результаты не имеют статически значимых различий с данными, полученными при анализе ангиорентгенограмм в топографо-анатомической части исследования (р>0,05). Безопасным расстоянием от условных эпикондилярных линий можно считать 16 мм против 15 мм, полученных по ангиорентгенограммам (табл. 5).
Таблица 5
Расстояние от сосудисто-нервных структур до передней поверхности плечевой кости на II уровне при полном разгибании верхней конечности по данным топографо-анатомического исследования и МРТ, Ме (Q1–Q3), мм
Анатомическая структура | МРТ | Топогр.-анатом. |
Лучевой нерв | 12,8 (12,4–13,7) | 13,4 (13,1–13,7) |
Плечевая артерия | 15,7 (15,7–15,9) | 15,3 (15,2–15,4) |
Срединный нерв | 14,9 (14,3–15,8) | 13 (12,6–13,5) |
р>0,05.
В заключительной части клинического исследования определяли длину медиальной и лучевой коллатеральных связок, а также площадь зон их прикрепления. По данным МРТ, средняя длина ППМКС составляет 20,5 (19,6–23,5) мм. Лучше всего на МРТ он визуализируется на фронтальных срезах. Средняя длина ЛКС составляет 26,5 (24,7– 28,7) мм. Выявленные показатели могут быть полезны в случаях их ятрогенного повреждения при выполнении релиза поврежденных сухожилий.
Также по данным МРТ определены средние площади зон прикрепления: сухожилия КЛРЗ — 52,4 мм2, ЛСЗ — 56,2 мм2. Средняя ширина КЛРЗ в области прикрепления составила 3,1±1,7 мм: в средней части — 7,2±2,1 мм и в дистальной части — 4,5±1,8 мм. Средняя ширина ЛСЗ в области прикрепления составила 4,3±1,3 мм: в средней части — 8,1±2,3 мм и в дистальной части — 5,7±2,1 мм. Полученные результаты не имеют статистически значимых различий с данными, полученными в топографо-анатомической части исследования (р>0,05).
ОБСУЖДЕНИЕ
Риск повреждения сосудисто-нервных структур во время артроскопии ЛС обусловлен различными факторами: недостаточным опытом хирурга, плохим знанием топографии сосудисто-нервных образований, близким расположением нервов в зоне выполнения артроскопических доступов [20]. При артроскопическом лечении латерального эпикондилита наиболее уязвимыми для повреждения являются глубокая ветвь лучевого нерва, медиальный кожный нерв предплечья, передний межкостный нерв предплечья, который также является ветвью срединного нерва [21, 22]. Глубокая ветвь лучевого нерва и передний межкостный нерв являются двигательными ветвями, при повреждении которых нарушаются функции кисти.
Согласно результатам выполненного нами топографо-анатомического исследования, лучевой и срединный нервы находятся на максимальном расстоянии от костных структур при угле сгибания ЛС от 0 до 90°, но дальнейшее сгибание приводит к уменьшению расстояния. По данным C.D. Miller с соавторами, расстояние срединного и лучевого нервов от кости составляет 12 и 6 мм соответственно при сгибании 90º. Стоит отметить, что в своем исследовании авторы использовали солевой раствор для инсуффляции, что существенно увеличивает расстояние от сосудисто-нервных структур до кости, однако они оценивали расстояние от капсулы сустава до нервных структур [10]. Похожее исследование было выполнено M. Hackl с соавторами, которые оценивали расстояние от сосудисто-нервных структур до кости при сгибании в локтевом суставе, а также при инсуффляции 20 мл солевого раствора в сустав [11].
В отечественной литературе мы не нашли сообщений о топографо-анатомических исследованиях, посвященных определению безопасных зон для формирования артроскопических доступов при лечении медиального эпикондилита плечевой кости. Ранее нами было выполнено комбинированное топографо-анатомическое и клиническое исследование на 12 анатомических препаратах ЛС человека для определения особенностей строения медиальной коллатеральной связки и безопасных артроскопических портов при выполнении релиза ЛСЗ [23]. Результаты данного исследования показали, что безопасная зона для выполнения хирургического вмешательства располагается выше средней линии плечелоктевого сустава на 2 (1,0–3,2) мм. В этой зоне минимальный риск повреждения ППМКС.
В ходе изучения ППМКС выявлено, что она имеет плотное расположение по отношению к лучевому сгибателю запястья. Ширина локтевой коллатеральной связки была измерена в трех местах. И эти значения согласуются со значениями, полученными в исследованиях S. Floris с соавторами [24], L.A. Timmerman с соавторами [25], W.D. Regan с соавторами [26]. Измерения, выполненные в данном исследовании, показали, что ширина связки неравномерна, увеличивается в дистальном направлении (к месту прикрепления) в среднем до 9,3 мм. Нет особых различий в области прикрепления связки к дистальному отделу плечевой кости, данные результатов схожи c данными, представленными S.W. O’Driscoll с соавторами [27]. Полученные данные имеют большое значение для хирурга, т.к. из-за топографических особенностей в ходе релиза ЛСЗ можно повредить ППМКС. В случае повреждения данной структуры более чем на 50% (в проксимальной части — более 3,0±1,4 мм, в средней части связки — 3,5±1,5 мм) возрастает риск развития вальгусной нестабильности ЛС.
По нашим данным, средняя площадь прикрепления ППМКС к медиальному надмыщелку плечевой кости составляет 45,5±9,3 мм2, что совпадает с результатами исследования M.E. Cinque с соавторами [28]. В ходе изучения ЛКЗ было выявлено, что средняя площадь ее прикрепления к мыщелкам плечевой кости составляет 13,6±1,4 мм2. Это отличается от данных, прежставленных D. Bernholt с соавторами — 7,1 мм2 [29].
По результатам настоящего исследования, расстояние от суставной щели до входа глубокой двигательной ветви лучевого нерва в супинаторную дугу составляет 28 (25,5–29,6) мм. Ее повреждение возможно при формировании артроскопического порта на 3 см дистальнее и на 1 см кпереди от латерального надмыщелка плечевой кости. Полученные данные полностью совпадают с результатами исследования N.F. Hilgersom с соавторами [21].
ЗАКЛЮЧЕНИЕ
Для выполнения доступов наиболее безопасным при артроскопическом лечении энтезопатии дистального отдела плечевой кости является II уровень. Для артроскопического релиза КЛРЗ рекомендуется использовать проксимальный медиальный доступ на 2,0 см проксимальнее и на 0,5 см кпереди от медиального надмыщелка плечевой кости и передний латеральный доступ, расположенный на расстоянии 1,0 см дистальнее и на 1,0 см кпереди от латерального надмышелка плечевой кости. Для артроскопического релиза ЛСЗ рекомендуется использовать передний латеральный доступ, находящийся на 1,0 см дистальнее и на 1,0 см кпереди от латерального надмыщелка плечевой кости, и передний медиальный доступ, находящийся на 2,0 см дистальнее и на 2,0 см кпереди от медиального надмыщелка плечевой кости.
ДОПОЛНИТЕЛЬНАЯ ИНФОРМАЦИЯ
Заявленный вклад авторов
Все авторы сделали эквивалентный вклад в подготовку публикации.
Все авторы прочли и одобрили финальную версию рукописи статьи. Все авторы согласны нести ответственность за все аспекты работы, чтобы обеспечить надлежащее рассмотрение и решение всех возможных вопросов, связанных с корректностью и надежностью любой части работы.
Источник финансирования. Авторы заявляют об отсутствии внешнего финансирования при проведении исследования.
Конфликт интересов. Авторы декларируют отсутствие явных и потенциальных конфликтов интересов, связанных с публикацией настоящей статьи.
Этическая экспертиза. Не применима.
Информированное согласие на публикацию. Авторы получили письменное информированное согласие пациентов на участие в исследовании и публикацию результатов.
DISCLAIMERS
Author contribution
All authors made equal contributions to the study and the publication.
All authors have read and approved the final version of the manuscript of the article. All authors agree to bear responsibility for all aspects of the study to ensure proper consideration and resolution of all possible issues related to the correctness and reliability of any part of the work.
Funding source. This study was not supported by any external sources of funding.
Competing interests. The authors declare that they have no competing interests.
Ethics approval. Not applicable.
Consent for publication. Informed consent was obtained from all individual participants included in the study.
Об авторах
Марсель Рамильевич Салихов
ФГБУ «Национальный медицинский исследовательский центр травматологии и ортопедии им. Р.Р. Вредена» Минздрава России
Email: virus-007-85@mail.ru
ORCID iD: 0000-0002-5706-481X
канд. мед. наук
Россия, г. Санкт-ПетербургАли Илесович Мидаев
ФГБУ «Национальный медицинский исследовательский центр травматологии и ортопедии им. Р.Р. Вредена» Минздрава России
Автор, ответственный за переписку.
Email: midaewali@gmail.com
ORCID iD: 0000-0003-1998-0400
Россия, г. Санкт-Петербург
Николай Федорович Фомин
ФГБУ «Национальный медицинский исследовательский центр травматологии и ортопедии им. Р.Р. Вредена» Минздрава России; ФГБВОУ ВО «Военно-медицинская академия им. С.М. Кирова» Минобороны России
Email: fominmed@mail.ru
ORCID iD: 0000-0003-3961-1987
д-р мед. наук, профессор
Россия, г. Санкт-Петербург; г. Санкт-ПетербургСписок литературы
- Baker C.L., Murphy K.P., Gottlob C.A., Curd D.T. Arthroscopic classification and treatment of lateral epicondylitis: two-year clinical results. J Shoulder Elbow Surg. 2000;9(6):475-482. doi: 10.1067/mse.2000.108533.
- Riff A.J., Saltzman B.M., Cvetanovich G., Frank J.M., Hemu M.R., Wysocki R.W. Open vs Percutaneous vs Arthroscopic Surgical Treatment of Lateral Epicondylitis: An Updated Systematic Review. Am J Orthop (Belle Mead NJ). 2018;47(6). doi: 10.12788/ajo.2018.0043.
- Chow H.Y., Eygendaal D., The B. Elbow arthroscopy – Indications and technique. J Clin Orthop Trauma. 2021;19:147-153. doi: 10.1016/j.jcot.2021.05.022.
- Elfeddali R., Schreuder M.H.E., Eygendaal D. Arthroscopic elbow surgery, is it safe? J Shoulder Elbow Surg. 2013;22(5):647-652. doi: 10.1016/j.jse.2013.01.032.
- Erickson B.J., Chalmers P.N., Cvetanovich G.L., Frank R.M., Romeo A.A., Harris J.D. Quality and Quantity of the Elbow Arthroscopy Literature: A Systematic Review and Meta-Analysis. Am J Orthop (Belle Mead NJ). 2016;45(5):E290-298.
- Kelly E.W., Morrey B.F., O’Driscoll S.W. Complications of elbow arthroscopy. J Bone Joint Surg Am. 2001;83(1): 25-34. doi: 10.2106/00004623-200101000-00004.
- Adolfsson L. Arthroscopy of the elbow joint: a cadaveric study of portal placement. J Shoulder Elbow Surg. 1994;3(2):53-61. doi: 10.1016/S1058-2746(09)80110-9.
- Drescher H., Schwering L., Jerosch J., Herzig M. [The risk of neurovascular damage in elbow joint arthroscopy. Which approach is better: anteromedial or anterolateral?]. Z Orthop Ihre Grenzgeb. 1994;132(2): 120-125. (In German). doi: 10.1055/s-2008-1039829.
- Omid R., Hamid N., Keener J.D., Galatz L.M., Yamaguchi K. Relation of the radial nerve to the anterior capsule of the elbow: anatomy with correlation to arthroscopy. Arthroscopy. 2012;28(12):1800-1804. doi: 10.1016/j.arthro.2012.05.890.
- Miller C.D., Jobe C.M., Wright M.H. Neuroanatomy in elbow arthroscopy. J Shoulder Elbow Surg. 1995;4(3): 168-174. doi: 10.1016/s1058-2746(05)80047-3.
- Hackl M., Lappen S., Burkhart K.J., Leschinger T., Scaal M., Müller L.P. et al. Elbow Positioning and Joint Insufflation Substantially Influence Median and Radial Nerve Locations. Clin Orthop Relat Res. 2015;473(11): 3627-3634. doi: 10.1007/s11999-015-4442-3.
- Cho B.K., Kim Y.M., Kim D.S., Choi E.S., Shon H.C., Park K.J. et al. Mini-open muscle resection procedure under local anesthesia for lateral and medial epicondylitis. Clin Orthop Surg. 2009;1(3):123-127. doi: 10.4055/cios.2009.1.3.123.
- Cushing T., Finley Z., O’Brien M.J., Savoie F.H., Myers L., Medvedev G. Safety of Anteromedial Portals in Elbow Arthroscopy: A Systematic Review of Cadaveric Studies. Arthroscopy. 2019;35(7):2164-2172. doi: 10.1016/j.arthro.2019.02.046.
- Thon S., Gold P., Rush L., O’Brien M.J., Savoie F.H. Modified Anterolateral Portals in Elbow Arthroscopy: A Cadaveric Study on Safety. Arthroscopy. 2017;33(11): 1981-1985. doi: 10.1016/j.arthro.2017.06.012.
- Andrews J.R., Carson W.G. Arthroscopy of the elbow. Arthroscopy. 1985;1(2):97-107. doi: 10.1016/s0749-8063(85)80038-4.
- Marshall P.D., Fairclough J.A., Johnson S.R., Evans E.J. Avoiding nerve damage during elbow arthroscopy. J Bone Joint Surg Br. 1993;75(1):129-131. doi: 10.1302/0301-620X.75B1.8421009.
- Field L.D., Altchek D.W., Warren R.F., O’Brien S.J., Skyhar M.J., Wickiewicz T.L. Arthroscopic anatomy of the lateral elbow: a comparison of three portals. Arthroscopy. 1994;10(6):602-607. doi: 10.1016/s0749-8063(05)80055-6.
- Cyriax J.H. The pathology and treatment of tennis elbow. J Bone Joint Surg Am. 1936;18(4):921-940.
- Nirschl R.P., Pettrone F.A. Tennis elbow. The surgical treatment of lateral epicondylitis. J Bone Joint Surg Am. 1979;61(6A):832-839.
- Nirschl R.P. Tennis elbow. Orthop Clin North Am. 1973;4(3):787-800.
- Hilgersom N.F.J., van Deurzen D.F.P., Gerritsma C.L.E, van der Heide H.J.L., Malessy M.J.A., Eygendaal D. et al. Nerve injuries do occur in elbow arthroscopy. Knee Surg Sports Traumatol Arthrosc. 2018;26(1):318-324. doi: 10.1007/s00167-017-4719-z.
- Kim S.J., Shin S.J. Arthroscopic treatment for limitation of motion of the elbow. Clin Orthop Relat Res. 2000;(375): 140-148. doi: 10.1097/00003086-200006000-00017.
- Salikhov M.R., Shulepov D.A., Zlobin O.V., Dmitrieva N.N., Midaev A.I. [Minimally Invasive Arthroscopic Treatment of Patients with Medial Epicondylitis]. Travmatologiya i ortopediya Rossii [Traumatology and Orthopedics of Russia]. 2021;27(2):44-53. (In Russian). doi: 10.21823/2311-2905-2021-27-2-44-53.
- Floris S., Olsen B.S., Dalstra M., Søjbjerg J.O., Sneppen O. The medial collateral ligament of the elbow joint: anatomy and kinematics. J Shoulder Elbow Surg. 1998;7(4):345-351. doi: 10.1016/s1058-2746(98)90021-0.
- Timmerman L.A., Andrews J.R. Histology and arthroscopic anatomy of the ulnar collateral ligament of the elbow. Am J Sports Med. 1994;22(5):667-673. doi: 10.1177/036354659402200515.
- Regan W.D., Korinek S.L., Morrey B.F., An K.N. Biomechanical study of ligaments around the elbow joint. Clin Orthop. 1991;(271):170-179.
- O’Driscoll S.W., Jaloszynski R., Morrey B.F., An K.N. Origin of the medial ulnar collateral ligament. J Hand Surg Am. 1992;17(1):164-168. doi: 10.1016/0363-5023(92)90135-c.
- Cinque M.E., Schickendantz M., Frangiamore S. Review of Anatomy of the Medial Ulnar Collateral Ligament Complex of the Elbow. Curr Rev Musculoskelet Med. 2020;13(1):96-102. doi: 10.1007/s12178-020-09609-z.
- Bernholt D.L., Rosenberg S.I., Brady A.W., Storaci H.W., Viola R.W., Hackett T.R. Quantitative and Qualitative Analyses of the Lateral Ligamentous Complex and Extensor Tendon Origins of the Elbow: An Anatomic Study. Orthop J Sports Med. 2020;8(10): 2325967120961373. doi: 10.1177/2325967120961373.
Дополнительные файлы












